注册
找回密码
记住我
我的中心
登录或注册新用户,开通自己的个人中心
艾游官方论坛
»
『新兽血沸腾』
»
〖通灵战歌〗
»
找到盗号的人了,你们应该好好查查~!!!
返回列表
查看:
1906
|
回复:
2
找到盗号的人了,你们应该好好查查~!!!
[复制链接]
发送短消息
UID
545607
精华
0
查看公共资料
搜索主题
搜索帖子
mika8888
组别
游客
生日
帖子
0
积分
0
性别
1
#
字体大小:
t
T
发表于
2011-02-12 01:14
|
只看楼主
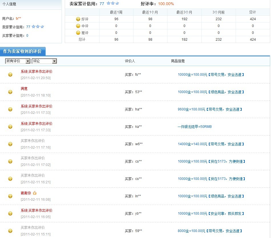
这个人在5173大量的卖金币,稍微数了一下,最近这段时间一天竟然能卖50万金币或者元宝,不是盗号来的,请问怎么能有这么多金币和元宝呢?
工作室也不可能有这个实力的吧,这个人都是1万金币100块的卖,5000RMB一天.... 官方你们不查真的对不起我们玩家了
未命名.jpg
(, 下载次数:312)
jpg
(2011/2/12 1:13:48 上传)
未命名1.jpg
(, 下载次数:259)
jpg
(2011/2/12 1:16:37 上传)
mika8888 最后编辑于 2011-02-12 01:16:37
分享
转发
TOP
发送短消息
UID
545607
精华
0
查看公共资料
搜索主题
搜索帖子
mika8888
组别
游客
生日
帖子
0
积分
0
性别
2
#
字体大小:
t
T
发表于
2011-02-12 01:18
|
只看楼主
你们看看吧 间隔20分钟半个小时就能弄到1万金币卖掉 这不是盗号 是什么呢?
TOP
发送短消息
UID
2951726
精华
0
查看公共资料
搜索主题
搜索帖子
doudou66430
组别
游客
生日
帖子
0
积分
0
性别
3
#
字体大小:
t
T
发表于
2011-02-12 10:25
|
只看该用户
现在5173,兽血的一切物品都已无法购买,如果发现还可以购买,交易,可以通知我们
TOP
上一主题
|
下一主题
返回列表
发新主题
浏览过的版块
【飘渺阁】(玩家交流)
〖千言万语〗(交流区)
TOP
设置头像
个人资料
更改密码
用户组
收藏夹
积分